ADC 0808 National Semiconductor
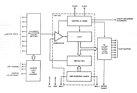
Il NATIONAL ADC 0808 è di fatto un sistema di acquisizione dati analogici ad 8 canali completo su singolo chip ad alimentazione singola +5V, poco costoso, robusto e facile da usare, anche se di prestazioni non eccelse per quanto riguarda la velocità (il tempo di conversione si aggira sul centinaio di microsec.).
La tecnica usata per la conversione è quella ad approssimazioni successive (S.A.R.).
Nell’ADC0808 è racchiuso un intero sistema di acquisizione dati infatti nell’unico chip è contenuto un multiplexer analogico ad 8 canali, appositi latch nonché dei buffer 3-state in uscita per l’interfacciamento a bus.
La gestione della conversione viene effettuata tramite i segnali START (inizio conversione), EOC (fine conversione) e OUTPUT ENABLE (abilita le uscite).
Una particolarità di questo dispositivo è la presenza di due pin di riferimento Vref(-) e Vref(+); le tensioni su di essi fissano rispettivamente il limite inferiore e quello superiore del range di input.
Il clock può andare da 10 a 1280 KHz; al valore tipico di 640 KHz il tempo di conversione è intorno ai 100 microsec.

